急性髓系白血病基因检测
急性髓系白血病(acutemyeloidleukemia, AML)是一类起源于造血干细胞的克隆性恶性血液系统疾病,以造血干细胞的分化受阻和异常增殖为主要特征,是成人白血病中最常见的类型。 近年来,血液肿瘤在精准诊断、预后分层、免疫治疗和靶向治疗等方面取得了长足进展,展现出了令人鼓舞的疗效和安全性,有助于改善患者的生存并提高生活质量。
WHO分类-急性髓系白血病
2022年第5版WHO造血和淋巴组织肿瘤分类系统地应用3个属性,即:系列+主要临床属性+主要生物学属性定义疾病。大多数生物学属性包括基因融合、重排和突变。由于分子机制认识的积累,增加了许多分子定义的疾病类型和亚型。为了促进实用的诊断方法,鼓励在需要时采用分子检测,有助于确认和完善诊断。
WHO造血淋巴肿瘤分类第五版中,AML的分类进一步突出了遗传学定义的重要性,分为遗传学异常特征定义和细胞分化特征定义两个大类。
分子特征与急性髓系白血病的诊断与预后
外周血或骨髓原始细胞≥20%是诊断AML的必要条件。但当患者被证实有克隆性重现性细胞遗传学异常t(8;21)(q22;q22)、inv(16)(p13;q22)或t(16;16)(p13;q22)以及t(15;17)(q22;q12)时,即使原始细胞<20%,也应诊断为AML。
根据初诊时AML细胞遗传学和分子遗传学异常可进行AML预后分级,分为预后良好、预后中等和预后不良。目前,预后分级可依据NCCN指南、ELN指南和CSCO指南,其中NCCN指南主要依据ELN指南,CSCO指南相较NCCN/ELN指南有一定的差异性。
急性髓系白血病的靶向治疗
AML中最常见的驱动基因突变发生在NPM1和FLT3中,各占~30%。许多FLT3抑制剂现已获批用于FLT3驱动基因突变型AML联合化疗一线治疗,也可用作复发的单药治疗。IDH1/2和TP53突变发生在大约10-20%的AML患者中,与预后和靶向药物的可用性相关。
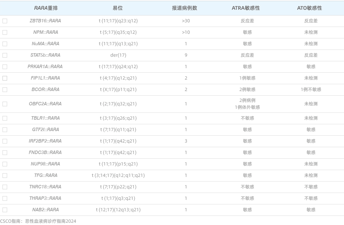
急性早幼粒细胞白血病基因检测
急性早幼粒细胞白血病(APL)是一种特殊类型的AML,绝大多数患者具有特异性染色体易位t(15;17)(q22;q12),形成PML-RARA重排。随着全反式维A酸(ATRA)和砷剂(ATO)的广泛应用,APL的预后有了极大改善。不同RARA重排的APL对ATRA和ATO的敏感性不同。
急性髓系白血病和遗传性肿瘤综合征
致病性胚系变异越来越多地被认为是驱动血液系统恶性肿瘤的原因之一,患有一些遗传性疾病的个体患白血病的风险增加,如Shwachman-Diamond综合征、范可尼贫血和Diamond-Blackfan贫血等。WHO造血淋巴肿瘤分类第五版和NCCN指南中均添加遗传性肿瘤综合征检测模块。
研究发现,~5-10%的AML与胚系变异相关。
急性髓系白血病相关的遗传性肿瘤综合征
急性髓系白血病基因检测套餐


